A high static charge is built up as the film unwinds and passes over various machine parts, rollers, and web guides. This can cause the film to stick to the machine frame, rollers, or itself instead of forming around the product.

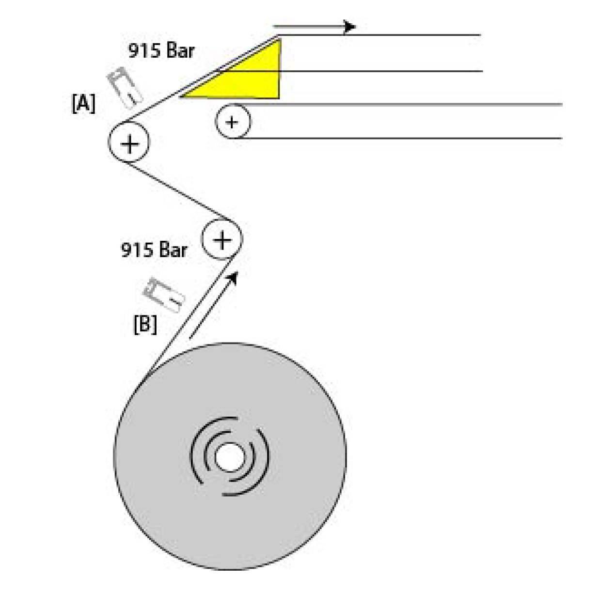
Install a 915 Ionizing Bar at point “A” (see diagram) to prevent the film from wrapping around rollers.
If the film is not forming around the product properly and is sticking to itself or the machine frame, install a second 915 Ionizing Bar at point “B”.
A Prevents wrap on rollers
B Helps film form around product